Kitchenaid Mixer Repair Instructions Kitchen Aid Kitchen Aid Mixer Repair

Kitchenaid Mixer Repair Instructions Kitchen Aid Kitchen Aid Mixer Repair

Kitchenaid Mixer Repair Instructions Kitchen Aid Kitchen Aid Mixer Kitchen Aid Appliances

Kitchenaid Mixer Repair Instructions Kitchen Aid Kitchen Aid Mixer Kitchen Aid Appliances

Home Kitchen Aid Mixer Small Appliance Repair Mixer

Home Kitchen Aid Mixer Small Appliance Repair Mixer

This Is The Most Common Kitchenaid Mixer Malfunction And How To Fix It Kitchen Aid Kitchen Aid Mixer Recipes Stand Mixer Recipes

This Is The Most Common Kitchenaid Mixer Malfunction And How To Fix It Kitchen Aid Kitchen Aid Mixer Recipes Stand Mixer Recipes

Get The Perfect Kitchen Stand Mixer For Your Kitchen Kitchen Aid Mixer Kitchen Aid Kitchen Aid Recipes

Get The Perfect Kitchen Stand Mixer For Your Kitchen Kitchen Aid Mixer Kitchen Aid Kitchen Aid Recipes

How To Replace A Kitchenaid Mixer Power Cord Kitchen Aid Kitchen Aid Mixer Kitchen Aid Attachments

How To Replace A Kitchenaid Mixer Power Cord Kitchen Aid Kitchen Aid Mixer Kitchen Aid Attachments

How To Replace A Kitchenaid Mixer Power Cord Kitchen Aid Kitchen Aid Mixer Kitchen Aid Attachments

Kitchenaid Mixer Repair Instructions Kitchen Aid Repair Kitchen Aid Kitchen Aid Decals

Kitchenaid Mixer Repair Instructions Kitchen Aid Repair Kitchen Aid Kitchen Aid Decals

How To Replace The Carbon Brushes On A Kitchenaid Stand Mixer Kitchen Aid Kitchen Aid Mixer Recipes Kitchen Aid Repair

How To Replace The Carbon Brushes On A Kitchenaid Stand Mixer Kitchen Aid Kitchen Aid Mixer Recipes Kitchen Aid Repair

Kitchenaid Stand Mixer Not Working Will Not Turn On Beater Hits Bowl Kitchen Aid Mixer Recipes Kitchenaid Stand Mixer Kitchen Aid

Kitchenaid Stand Mixer Not Working Will Not Turn On Beater Hits Bowl Kitchen Aid Mixer Recipes Kitchenaid Stand Mixer Kitchen Aid

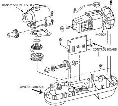
Useful Diagram Showing The Gear Assembly Of A Kitchenaid Professional Model Kitchen Aid Kitchen Aid Mixer Kitchenaid Professional

Useful Diagram Showing The Gear Assembly Of A Kitchenaid Professional Model Kitchen Aid Kitchen Aid Mixer Kitchenaid Professional

Kitchenaid Ksm90 Parts List And Diagram Series Kitchen Aid Kitchen Aid Mixer Kitchen Aid Mixer Recipes

Kitchenaid Ksm90 Parts List And Diagram Series Kitchen Aid Kitchen Aid Mixer Kitchen Aid Mixer Recipes

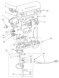
Kitchenaid 5 Quart K5 Parts Diagram Kitchenaid Stand Mixer Parts Diagrams Service Manual Kitchen Aid Kitchenaid Stand Mixer Kitchen Aid Mixer

Kitchenaid 5 Quart K5 Parts Diagram Kitchenaid Stand Mixer Parts Diagrams Service Manual Kitchen Aid Kitchenaid Stand Mixer Kitchen Aid Mixer

This Is The Most Common Kitchenaid Mixer Malfunction And How To Fix It Kitchen Aid Mixer Kitchen Aid Mixer

This Is The Most Common Kitchenaid Mixer Malfunction And How To Fix It Kitchen Aid Mixer Kitchen Aid Mixer

Kitchenaid Stand Mixer Not Working Will Not Turn On Beater Hits Bowl Kitchenaid Stand Mixer Kitchen Aid Kitchen Aid Mixer

Kitchenaid Stand Mixer Not Working Will Not Turn On Beater Hits Bowl Kitchenaid Stand Mixer Kitchen Aid Kitchen Aid Mixer

Kitchenaid Stand Mixer Review Kitchen Aid Kitchenaid Stand Mixer Stand Mixer Reviews

Kitchenaid Stand Mixer Review Kitchen Aid Kitchenaid Stand Mixer Stand Mixer Reviews

How To Replace The Brushes On A Kitchenaid Stand Mixer Kitchen Aid Kitchenaid Stand Mixer Kitchen Aid Mixer Recipes

How To Replace The Brushes On A Kitchenaid Stand Mixer Kitchen Aid Kitchenaid Stand Mixer Kitchen Aid Mixer Recipes

Kitchenaid 4 8 L Artisan Stand Mixer Frosted Pearl Kitchen Aid Kitchenaid Artisan Stand Mixer Kitchenaid Artisan

Kitchenaid 4 8 L Artisan Stand Mixer Frosted Pearl Kitchen Aid Kitchenaid Artisan Stand Mixer Kitchenaid Artisan

One Day I Might Be Happy I Repined This Step By Step Instructions On How To Clean And Grease Your Kitchen Aid Kitchen Aid Kitchen Aid Mixer Cleaning Hacks

One Day I Might Be Happy I Repined This Step By Step Instructions On How To Clean And Grease Your Kitchen Aid Kitchen Aid Kitchen Aid Mixer Cleaning Hacks

Kitchenaid Mixer 200

Kitchenaid Mixer 200

Pin By Ereplacementparts Com On Appliance Repair Kitchen Aid Kitchenaid Stand Mixer Kitchen Aid Mixer Recipes

Pin By Ereplacementparts Com On Appliance Repair Kitchen Aid Kitchenaid Stand Mixer Kitchen Aid Mixer Recipes

Source : pinterest.com
Social bar :